类别:美国进口阀门 发布时间:1970-01-01 08:00 浏览: 次

进口蒸汽过滤器描述--
ALSO进口Y型过滤器有法兰式、焊接式和内螺纹式,这是一种保护下游设备如冷凝器、热交换器、泵、压缩机、仪表、喷雾嘴、涡轮、疏水阀,安全阀等免遭铁锈、管垢、沉淀,或者其他固体碎片损害的廉价方法。当流体进入置滤网的滤筒后,其杂质被阻挡,而清洁的滤液则由过滤器出口排出,当需要清洗时,只要将可拆卸的滤筒取出,处理后重新装入即可
进口蒸汽过滤器设计规范--
基本设计: BS EN 13709, ASME B16.34
结构长度: ASME B16.10, EN 558 -1
连接端: ASME B16.5, ASME B16.47, EN 1092-1
试压: API 598, EN 12266
进口蒸汽过滤器零部件材料--

进口蒸汽过滤器特点—
排污方便;
压力损失小;
过滤面积大;
过滤精密;
抗污性强;
耐腐蚀性强;
双层网结构过滤网,坚固耐用;
可与伸缩节组成具有安装长度可调节的功效;
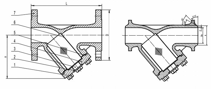
进口蒸汽过滤器外形尺寸--


进口蒸汽过滤器典型应用—
进口Y型过滤器适用于以下工况:
1.锅炉、电厂、洗涤、纺织生产中的蒸汽、热油等;
2.燃气系统、加油站、暖通等的天然气、油品、暖气等
3.石油、化工、给排水管线的弱腐蚀性介质,如:水,海水、氨,烃类等;
4.化工管线的腐蚀性介质,如:烧碱,浓稀硫酸,碳酸,醋酸,酯酸等;
5.制冷工控中的低温介质,如:液甲烷,液氨,液氧和各种冷剂;
6.轻工食品,制药生产中有卫生要求的物料,如:啤酒,饮料,乳制品,粮浆医药用品等


